FX121.5P Fixed-Angle Polypropylene Rotor with Snap-on Lid- 12 x 1.5/2.2 mL, 14,800 rpm, 15,183 x g

Product No:A46476

FX121.5P Microfuge; Fixed-Angle Polypropylene Rotor, with snap-on lid, 12 x 1.5/2.2 mL, 14,800 rpm, 15,183 x g; Major applications: Fast pelleting or isolation of DNA, RNA, proteins and viruses. For use in Microfuge® 16.

Product Specifications

Platform Microfuge
Rotor Type Fixed-Angle (General Purpose)
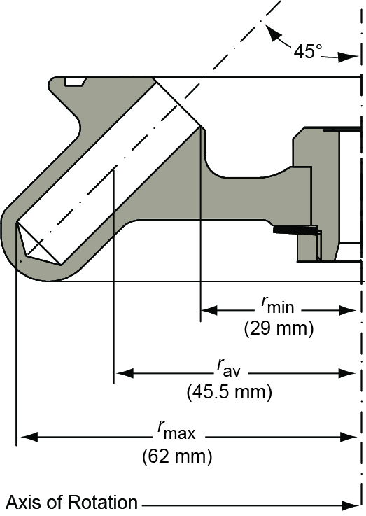
Angle 45
Maximum RPM 14,800 rpm
Max g-Force 15183 xg
Adapters 361247, 364690, 392294
Number of Tubes 11 x 40 mm, 12 x 1.5-2.2 mL
Nominal Capacity 26.5mL
rMAX 62
rMIN 29
rAV 45.5 mm
Materials Polypropylene
Package Quantity 1