VFC 24.15 Fixed-Angle Rotor
Product No:C63138
Applications for this rotor include density gradient separations of erythrocytes, cell lysate fractions, granules, as well as differential separation of DNA, proteins, and viruses.
Product Specifications
| Platform | Allegra |
| Rotor Type | Fixed-Angle |
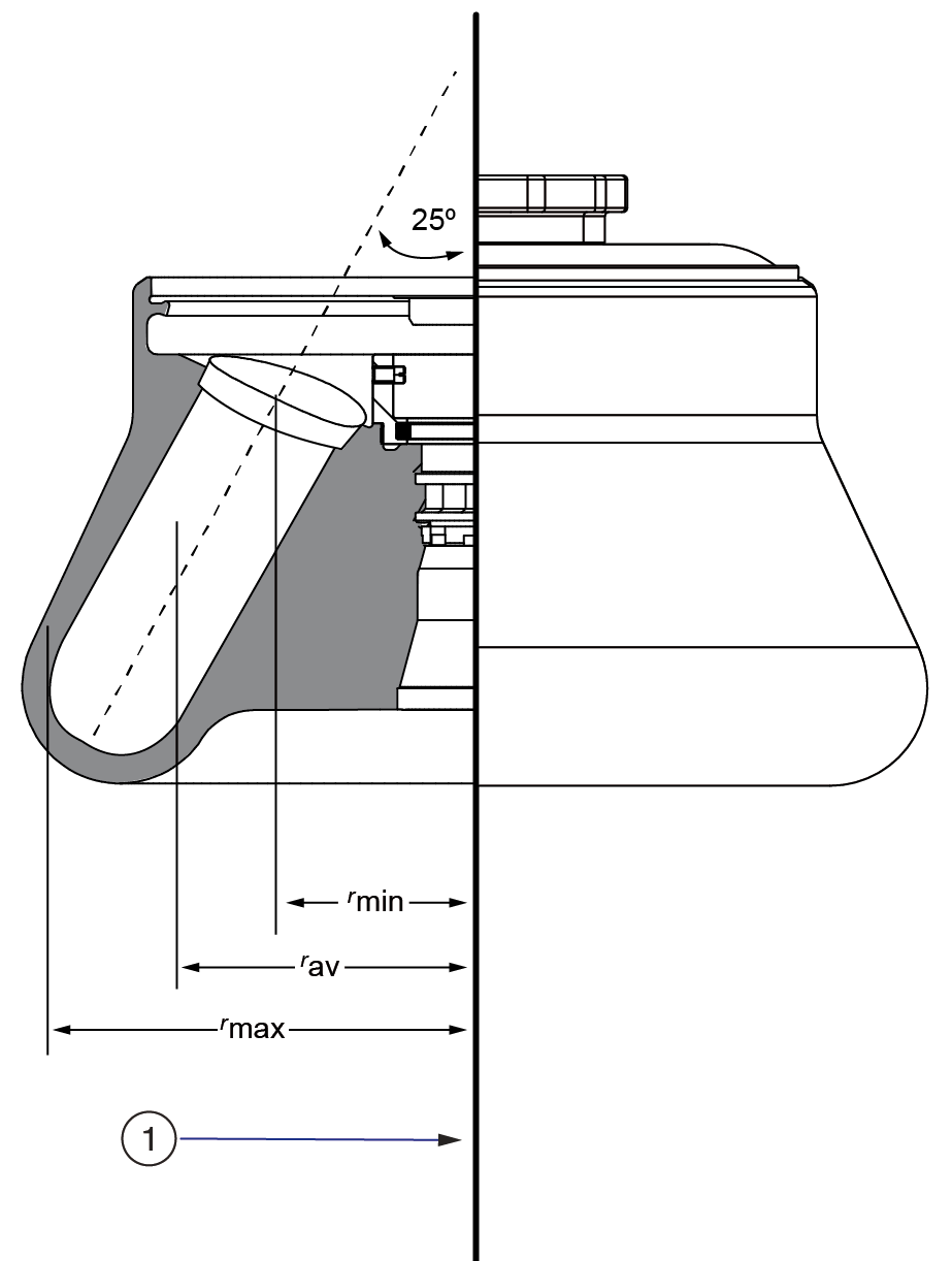
| Angle | 30° (Outer Row) | 40° (Inner Row) |
| Maximum RPM | 9,000 rpm |
| Max g-Force | 11,431 xg |
| k-Factor | 2,165 (Outer Row), 2,950 (Inner Row) |
| Number of Tubes | 24 x 15 mL |
| Nominal Capacity | 360mL |
| rMAX | 126 |
| rMIN | 63 |
| rAV | 94.5 mm |
| BioSafe | No |
| Materials | Anodized Aluminum |
| Package Quantity | 1 |